咨询热线
15040119189

产品详情
产品概述
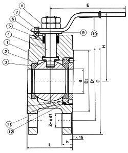
与普通球阀相比,超薄型球阀具有结构长度短、重量轻、安装方便、节省材料等显著的优点。对夹保温夹套球阀保温**。此外,阀座采用弹性密封结构,密封可靠,启闭轻松。设有耐火结构,万一发生火灾时,仍然能够可靠操作并具有良好的密封性。根据用户需要,可设有防静电结构。设置了开关带孔定位片,根据需要可以加锁,防止误操作。
适用范围
对夹球阀及对夹保温夹套球阀适用于Class150、PN1.0~2.5MPa,工作温度 29~180℃(密封圈为增强聚四氟乙烯)或 29~300℃(密封圈为对位聚苯)的各种管路上,用于截断或接通管路中的介质,选用不同的材质,可分别适用于水、蒸汽、油品、硝酸、醋酸、氧化性介质、尿素等多种介质。
性能参数
公称通径: | DN15-DN200 |
公称压力: | PN10,PN16,PN40 |
适合法兰 : | ANSI CLASS150, 300 |
手柄操作或驱动器装置操作 | |
主要零件材料
